| Maggie Orth | ||
| Art, Technology, Design | ||
![]() |
![]() |
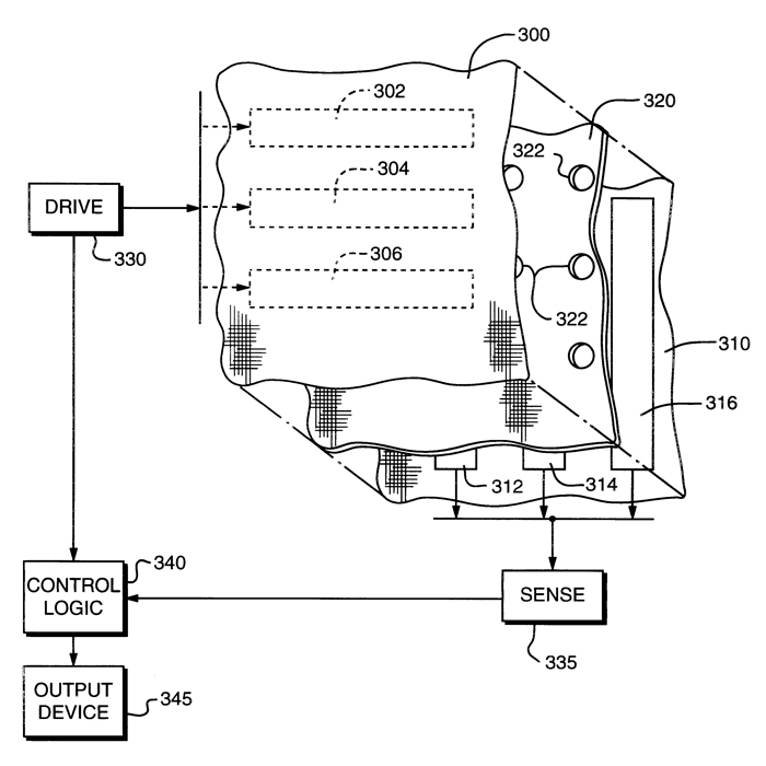
Electrically active textiles and articles made therefrom.
Filed 1997, Issued 2001. Images from: E. Rehmi Post, Margaret Orth, Emily Cooper, Joshua R. Smith
|
![]() |
||||||||||||||||
| patent image 1 |
patent image 2 |
patent image 3 |
|||||||||||||||||
mouse over above menu for more images, please be patient while images load | |||||||||||||||||||