Maggie Orth
Art, Technology, Design

previous artwork


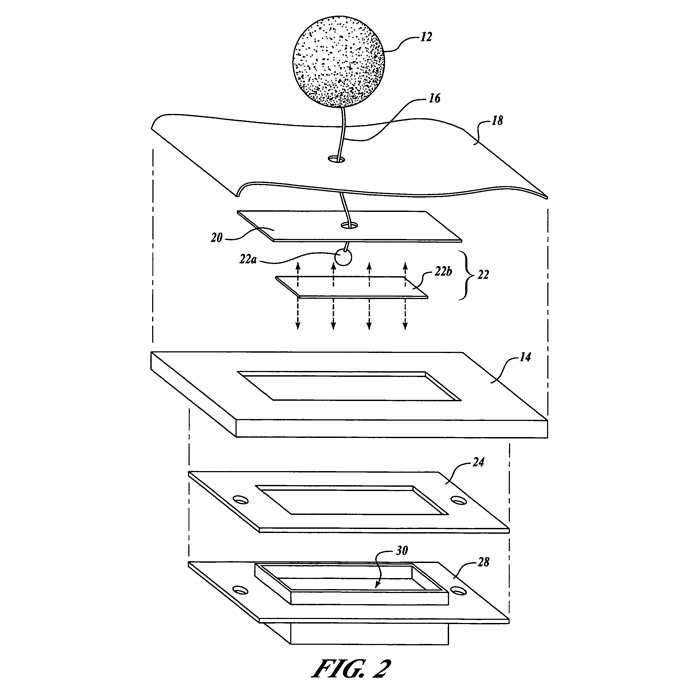
Electronic textile touch light controller.
Filed 2005, Issued 2006.

Images from US patent number: US7054133 B2

What can I say?
A patented electronic textile pompom. :).

Read more about my thoughts on art and patents here.


next
artwork

 
  wall switch
lamp
wall swtich
     

mouse over above menu for more images, please be patient while images load